娃哈哈要做私募?娃哈哈创投完成注册 宗获得基金从业资格
8月9日,AI Finance通过基金业协会官网获悉,浙江娃哈哈创业投资有限公司(以下简称“娃哈哈创投”)于7月9日正式完成基金管理人注册,法定代表人为娃哈哈集团原董事长宗。
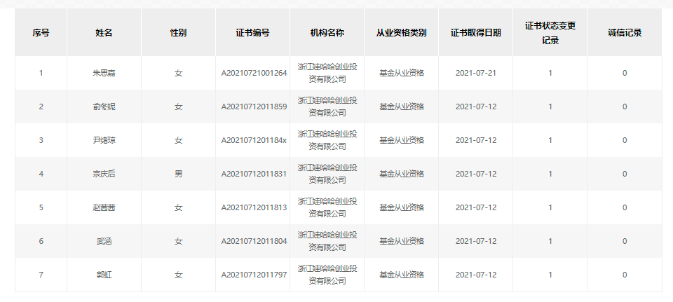
根据基金业协会披露的数据,娃哈哈创投共有宗等7名工作人员(含3名高管),均于今年7月取得基金从业资格证书。其中,除朱思佳于7月21日取得基金从业资格证外,其余6名工作人员于7月12日取得基金从业资格证。
公开资料显示,娃哈哈创投早在2010年11月8日正式成立。长期以来,娃哈哈创投并没有以基金经理的身份参与创投,而是以LP的身份间接参与创投,并设立分支机构以满足项目的融资需求。
时隔近十年,娃哈哈创投终于在基金行业协会正式完成备案。根据相关规定,娃哈哈创投需要在备案成功后六个月内发行产品。(文字|AI金融学会夏季)
延伸 · 阅读
- 2021-08-09 17:56展望私人火箭领域 Xpeng Motors招聘高级弹道设计工程师
- 2021-08-09 17:56旅行逐渐回归日常生活?同程艺龙的Q2季度营收为21.4亿元
- 2021-08-09 17:56NFT站最新调查报告被30%的网友知晓 但只有2.8%的网友拥有
- 2021-08-09 17:56数字世界如何保护安全感?Vivo给出了自己的答卷
- 2021-08-09 17:56加快构建新时代的未成年人网络保护体系
- 2021-08-09 17:56什么Bug?理想情况下 接触二手销售后 还是和App有关联













